Motorola запатентовала раскладушку, складывающуюся наружу. В чём смысл — непонятно
Легендарная Motorola создала первый в мире телефон-раскладушку. Было это в далёком 1996 году, а теперь компания запатентовала новый дизайн смартфона в таком же форм-факторе, но с изменённой конструкцией. Заявка была подана во Всемирную организацию интеллектуальной собственности (WIPO) ещё в 2020 году, и только недавно она была зарегистрирована. В документе описывается
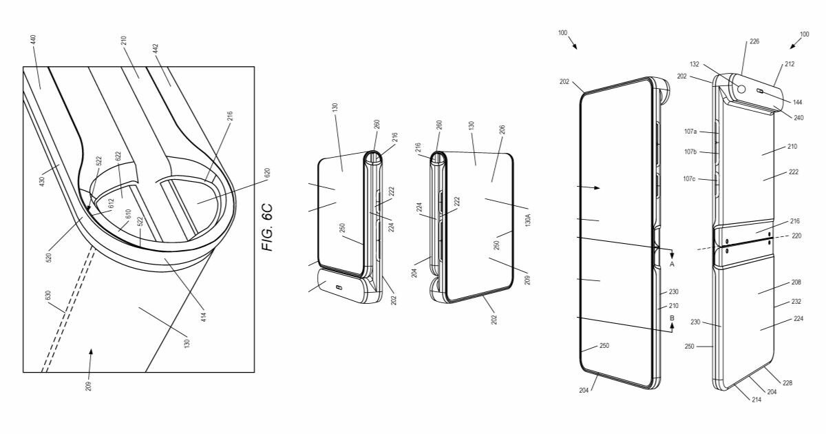
новый тип смартфона-раскладушки, который складывается наружу, позволяя в сложенном виде пользоваться основным дисплеем. Причём сразу с двух сторон.
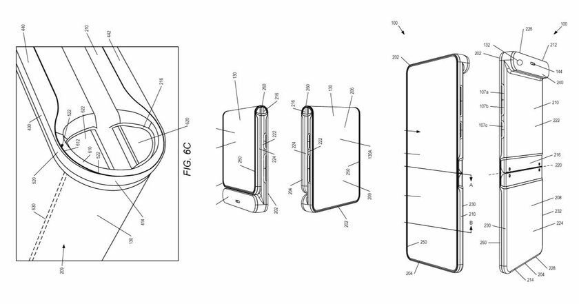
Хитрость заключается в том, что Motorola не меняет механизм складывания. Это по-прежнему классическая раскладушка, только гибкий экран изначально расположен с внешней стороны устройства. Пока неясно, чем руководствовалась компания, ведь суть этого форм-фактора в том, чтобы защитить экран, сложив его внутрь. Здесь же он подвергается внешним воздействиям.
В любом случае, акцент сделан на том, чтобы чаще пользоваться смартфоном в сложенном виде. Для этого, скорее всего, будет создано специальное программное обеспечение, позволяющее адаптировать интерфейс, а также содержащее уникальные функции. Экран спереди сможет отображать рабочий стол со всеми основными приложениями, тогда как экран сзади будет выполнять другие функции, например, роль видоискателя для камеры и так далее.
Складной шарнир имеет U-образную форму и небольшой зазор. Это похоже на то, что недавно продемонстрировала компания OPPO. Её складной смартфон Find N имеет более плавную линию сгиба, чтобы гарантировать отсутствие видимой складки, которая появляется со временем. Самое интересное в этой концепции заключается в том, что у смартфона всего один модуль камеры, который используется как для селфи, так и для обычных фотографий. Согласно иллюстрациям, камера размещается с внутренней стороны на выступе.
Ранее Motorola пыталась возродить культовую раскладушку Moto Razr. Однако высокая цена и сомнительная надёжность привели к тому, что современная версия не получила коммерческого успеха. Пока неясно, выпустит ли компания новый складной смартфон, но концепция выглядит интересно, хоть и странно.

