Складной iPhone cможет самостоятельно устранять царапины и вмятины на дисплее. Apple запатентовала технологию
Apple продолжает работать над технологией, позволяющей дисплеям iPhone себя «ремонтировать». Речь идёт про несущественные механические повреждения вроде неглубоких царапин и вмятин. Уже как минимум 9 лет компания разрабатывает складной iPhone, при этом всё никак не может определиться с вариантами складывания устройства. В каждом отдельном случае существует проблема механического повреждения экрана. Выяснилось, что Apple уже запатентовала технологию, которая минимизирует последствия.
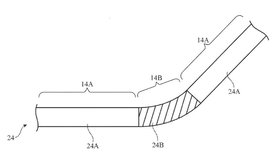
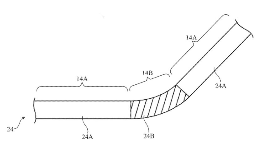
В документе предлагается использовать гибкие слои покрытия дисплея наряду с жёсткими, а также то, что Apple называет «самовосстановлением». К сожалению, подробностей о том, как это будет осуществляться, очень мало. В патенте говорится, что устройство может иметь шарнир, позволяющий сгибать его вокруг оси изгиба. В этой области будет гибкий слой, соединяющий две части экрана в одно целое. Он может включать слой эластомера, способный растягиваться и возвращаться к первоначальной форме под воздействием тепла — по аналогии с тем, как ведёт себя пена с памятью в подушках и матрицах под воздействием тела человека.
Apple предлагает добавлять прозрачные проводники, образующие нагревательный слой, чтобы приступить к процессу «заживления» экрана. Этот слой будет задействован в соответствии с заранее заданным графиком или во время зарядки устройства. Технология может использоваться не только в смартфонах, но и в компьютерах, и в носимых устройствах. Apple рассматривает несколько вариантов исполнения, но общая идея заключается в использовании нескольких слоёв.
Apple ежегодно подает заявки на множество патентов, но далеко не все из них реализуются. В данном случае разработка компании выглядит не просто очередным интересом. Более того, компания уже развивала эту тему ранее, а данный патент продолжает серию других патентов Apple, касающихся складного iPhone.
