Apple запатентовала iPhone с изогнутым двусторонним дисплеем
За все время существования Apple неоднократно регистрировала различные патенты, касающиеся дизайна устройств или технологии производства. Большинство из них были незначительными или корпорация никогда не использовала их, однако всему приходит свое время. Новый патент можно назвать действительно интересным, ведь ничего схожего мир еще не видел.
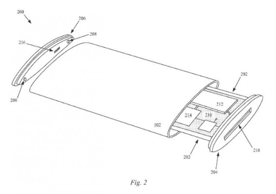
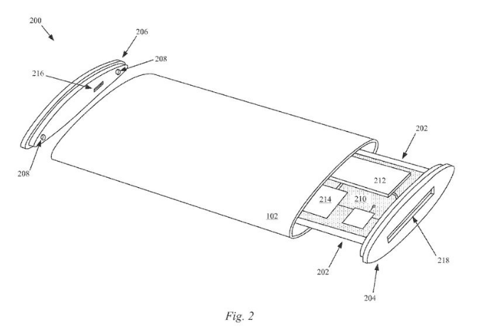
Apple зарегистрировала патент на смартфон с дисплеем, «обернутым» вокруг устройства. Данная концепция для корпорации не нова, ведь нечто похожее купертиновцы регистрировали еще в 2011 году, однако новая усовершенствованная концепция является более реальной, нежели предыдущие.
Согласно чертежу, компания скорее патентует не описание технологии, а процесс производства, ведь в нем описывается то, как гибкий OLED-дисплей «прилипает» к бесшовному стеклу. Последнее полностью оборачивается вокруг смартфона. Само стекло может быть непрозрачным в некоторых местах, чтобы скрыть швы под ним. Поскольку дисплей выполнен по технологии OLED, энергозатрата такого изогнутого варианта будет минимальной, ведь пиксели не подсвечиваются, а излучают собственный свет, а, значит, скрытые участки просто не будут светиться.
Еще одной интересной особенностью нового патента является съемная торцевая крышка. Пока неизвестно, как Apple планирует использовать эту функцию, особенно при ее политике, однако теоретически можно подключать к смартфону улучшенную камеру, другой набор беспроводных антенн и прочее.

да хер его знает
Тим Кук
Я бы такое не купил.