Apple патентует автоматическую защиту дисплея смартфона
Дисплеи современных смартфонов довольно устойчивы к появлению царапин благодаря защитному покрытию. Однако при падении экраны часто дают трещины, и защитить их от этого — задача не из простых. Motorola, например, заявляет, что её предстоящий смартфон Droid Turbo 2 получит небьющийся дисплей, однако не раскрывает никаких подробностей о том, как этого можно достичь. Apple тоже не остаётся в стороне, и на днях стало известно, что американский производитель придумал новый способ, как защитить экран iPhone от повреждений во время падения. Apple подала заявку под названием «Активная защита дисплея электронных устройств» в Американское бюро регистрации патентов.
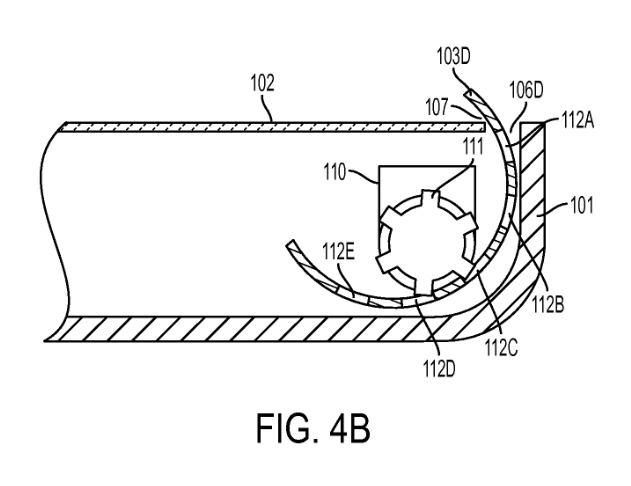
Данная система работает в связке с акселерометром устройства, чтобы при падении смартфона активировать пластиковые вставки, выдвигающиеся по углам дисплея. Эти небольшие элементы будут выполнять роль амортизаторов. Как видно по изображениям, представленным в заявке, под дисплеем расположены четыре маленьких шестерёнки, которые и будут выдвигать защитные элементы наружу. Согласно патентной заявке, такая автоматизированная система защиты может быть использована для устройств iPhone, iPad, Apple Watch, iPod и MacBook.



Маслом смазать — это уже слишком инновационно, систему подачи масла к смарту Эппл представит только через пару лет.
стоимость IPHONE увеличится ещё наполовину