Сенсорная клавиатура от Microsoft распознает силу нажатия
В последние годы мы настолько привыкли к сенсорным дисплеям и виртуальным клавиатурам в мобильных устройствах, что некоторые производители даже предлагают перенести такой опыт в ноутбуки. Компания Microsoft также не осталась в стороне и уже запатентовала новый способ ввода с использованием чувствительного к давлению сенсорного экрана.
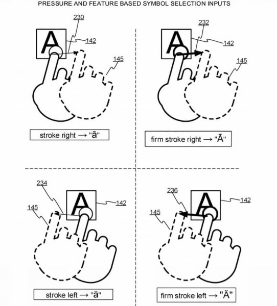
Патентная заявка была подана в Ведомство по патентам и товарным знакам США в январе прошлого года и утверждена только сейчас. В документе по сути описывается метод ввода с помощью виртуальной клавиатуры за счёт силы нажатия и жестов. Технология может использоваться в ноутбуках и устройствах 2-в-1. В отличие от двухэкранных ноутбуков, представленных на Computex 2018, клавиатура Microsoft использует систему определения давления, поэтому распознаёт символы и команды в зависимости от прикосновений.
«В процессе определения того, какие символы выводятся виртуальной клавиатурой, учитываются особенности давления сенсорного ввода. Эта функция может инициировать вывод символов, не соответствующих активациям клавиш, а также преобразовывать слова и символы (например, распознавать ввод прописной или строчной буквы, применение визуальных эффектов форматирования текста и так далее)», — объясняется в патентной заявке.
Вполне возможно, что Microsoft будет лицензировать OEM-производителей на выпуск новых поколений ноутбуков с таким методом ввода, тем более, что недавно соответствующие API были добавлены в Windows 10. Ожидается, что в этом году компания Lenovo выпустит ноутбук с двумя экранами, в котором второй дисплей заменит физическую клавиатуру.

