Обзор GIGABYTE B550I AORUS PRO AX: компактно, универсально, с огоньком
К осени налажен выпуск плат на новом чипсете от AMD — B550. Это, своего рода, небольшой «рестайлинг» платформы AM4 в среднем ценовом сегменте. Сегодня у нас на обзоре компактное решение от Gibagyte на новой системной логике. Просят за неё немало по меркам неоверклокерских решений. Посмотрим, стоит ли B550I AORUS PRO AX своих денег.
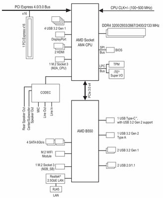
Технические характеристики
- Форм-фактор: Mini-ITX (170 × 170 мм).
- Процессорный разъем: Socket AM4.
- Системная логика: AMD B550.
- Оперативная память: 2 × DIMM, DDR4-2133…5300, до 64 Гбайт.
- Звук: 7.1 HD Audio (Realtek ALC1220-VB).
- Сеть проводная: 2,5 Гбит Ethernet (Realtek RTL8125).
- Сеть беспроводная: Wi-Fi 802.11ax, Bluetooth 5.0 (Intel Wi-Fi 6 AX200).
- Слоты расширения: 1× PCI-Ex16.
- Накопители: 4 × SATA III 6 Гбит/с, 2 × M.2 NVMe / SATA III 6 Гбит/с 2208.
- Задняя панель: DisplayPort, 2 × HDMI, USB 3.2 Gen2 (Type-A), 4 × USB 3.2 Gen1, USB 3.2 Gen 2 (Type-C), кнопка Q-Flash Plus, RJ-45, 2 × SMA (2T2R), 3 × 3,5-мм аудиопорт.
На момент написания обзора цена гаджета составляет 18 500 рублей.
Комплектация
Материнская плата поставляется в крупной для своих габаритов коробке из плотного картона.
Значительную часть внутреннего объема занимает вспененный полиэтилен, предохраняющий плату от механических повреждений. На территории РФ мера небесполезная.
В нагрузку к плате дают пару SATA-кабелей, один переходник для подключения вентилятора, удлинитель для подключения светодиодной ленты, антенну.
Из бумаг и софта: инструкция, диск с драйверами, рельефная наклейка.
Внешний вид
Внешность приятная — аккуратный квадрат текстолита, элементы размещены плотно, но органично.
Приятно, что при проектировке ITX-плат учитывают удобство сборки, и все мелкие разъемы выносят на доступные при сборке края. Нехарактерное для «пользовательского» сегмента решение — защитная пластина-радиатор с обратной стороны, обычно такие устанавливаются только на платы для энтузиастов.
Здесь же производитель не пожалел денег на полноценную «броню» из металлического листа.
Слот PCI Express один, полноскоростной (16 линий), с металлизацией для повышения механической прочности.
Момент актуальный, так как часто при сборке мини-систем устанавливают крупногабаритные и мощные видеокарты, нагружающие весом разъем PCIEx.
Слотов под оперативную память два, также металлизированы, с двойными защелками. Согласно заявлению производителя, установить можно модули частотой от 2133 до 5300 МГц суммарным объемом до 64 Гбайт.
Высокоскоростных накопителей типа M.2 можно установить два: один на лицевой стороне платы, один с обратной.
На лицевой стороне M.2 слот скрыт системой охлаждения чипсета и подсистемы питания процессора, для установки необходимо демонтировать верхнюю часть радиатора. Допускается установка SSD длиной 60 и 80 мм с интерфейсами SATA и NVMe.
Для отвода тепла предусмотрен пластинчатый радиатор с «терморезинкой», будет очень кстати для всех современных накопителей.
Второй SSD устанавливается с обратной стороны платы. Допустимая длина 60 или 80 мм, интерфейс только NVMe. Радиатор не предусмотрен, а жаль.
Системная логика ввиду малых размеров платы размещена под SSD. Как следует из названия, это чипсет AMD B550, поддерживающий работу по шине PCI Express 4.0. Помимо этого нововведения, увеличено количество «собственных» линий PCIe до 10, число портов SATA — до 10, USB 3 Gen 2 — до 6.
В случае с B550I AORUS PRO AX реализованы не все возможности нового набора логики. Да они и не нужны в таком количестве на компактном решении.
Так, четырех SATA 3 вполне достаточно, они собраны одним блоком рядом с модулями памяти.
Правда, количество USB на задней панели невелико: 6 штук, из них только два 3.2 Gen2. Можно без особых трудностей поставить ещё колодок под как минимум 4 разъема, но инженеры решили увеличить количество видеовыходов до трех (пара HDMI и DisplayPort). В остальном стандартно — три миниджека звуковой карты, два SMA под антенны и RJ45 для проводной сети. Есть отдельная кнопка, индикатор и окрашенный белым разъем для функционирования Q-Flash Plus (технология автоматического обновления BIOS).
Сетевых контроллеров два. Один — 2,5-гигабитный Ethernet на Realtek RTL8125, второй — Wi-Fi 802.11ax на базе Intel Wi-Fi 6 AX200, есть и Bluetooth пятой версии. Первый распаян на плате, второй помещен в экранированный блок рядом с колодками разъемов на задней панели.
За звук отвечает кодек Realtek ALC1220-VB, на нем реализован традиционный HD Audio 7.1
Система питания процессора реализована на базе контроллера Renesas RAA 229004, он управляет восемью фазами со сборками ISL99390FRZ-T, каждая рассчитана на ток до 60 ампер.
Отводит тепло крупный радиатор с теплотрубкой и дополнительным массивным «теплосборником» из алюминия.
Питание подводится через 8-пиновый разъем в углу платы. Можно сказать, что с таким вниманием к питанию и охлаждению можно без опаски устанавливать топовые Ryzen третьего поколения, в рамках оговоренных AMD TDP все будет работать без проблем.
Под вентиляторы всего три разъема, раскиданные в разные углы платы. Немного, но адекватно относительно габаритов и предназначений платы — в компактных системах просто негде размещать по 5–7 корпусных вентиляторов.
UEFI-оболочка BIOS
С одной стороны, BIOS Setup Menu напоминает топовые решения на X-чипсетах AMD: наличие раздела Favorites с быстрым доступом по F11, обилие настроек в разделе Tweaker c регулировками напряжений и таймингов. И это в каком-то смысле оправдано: AMD B550 разгон «разрешает», и при покупке современного «камня» грех не использовать возможность выжать дополнительную сотню–другую мегагерц за счет подбора параметров на каждый режим работы.
С другой стороны, меню простое и понятное, при первом знакомстве можно обойтись базовой настройкой загрузочных устройств и вентиляторов. Для последних реализована утилита SmartFan 5, позволяющая быстро и наглядно выстроить график зависимости оборотов от температуры процессора. Есть полезные опции вроде просмотра свойств накопителя, информации из SPD-микросхем модуля памяти, мониторинг температур и напряжений.
Стоит отметить утилиту RGB Fusion, так как на плате есть разъемы под светодиодные ленты и собственная RGB-«дорожка» вдоль передней кромки.
С помощью данной программы можно настроить режим работы подсветки не только на самой плате, но и на других комплектующих, оснащенных многоцветной иллюминацией.
Заключение
GIGABYTE B550I AORUS PRO AX — интересный продукт для постройки компактной и производительной универсальной системы. Хорошо подойдет тем, кому нужна надежная малогабаритная платформа. В плату интегрированы и современный 2,5-гигабитный контроллер, и беспроводной адаптер с поддержкой стандарта 802.11ax. Хорошая система охлаждения не даст перегреться силовым компонентам в преобразователе питания, системной логике и контроллеру твердотельного накопителя. Для любителей иллюминации есть возможность подключения светодиодной ленты. Цена не самая гуманная, но это свежий продукт, а за новинки на старте продаж всегда немного задирают прайс.
Плюсы
- Малые габариты.
- Хорошая система питания и охлаждения.
- Наличие 2,5-гигабитной проводной сери и Wi-Fi со стандартом ax.
- RGB-подсветка.
- Удобное расположение компонентов для сборки.
Может не понравиться
- Цена













































