Apple патентует технологию сенсора чувствительного к давлению
В Патентное бюро США поступила заявка от Apple, в которой объясняется работа нового типа сенсора, в который будут встроены датчики, способные различать степень и силу нажатия на экран, что позволит расширить диапазон исполняемых жестов. Причем эти сенсоры не обязательно должны находится по всей поверхности экрана, чтобы четко улавливать жесты и степень нажатия.
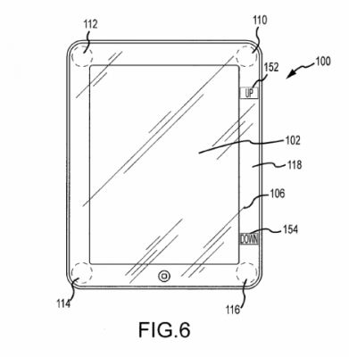
В приведенном примере, 4 сенсора расположены по углам устройства (на картинке iPad) и принцип их работы напоминает GPS (за более подробной информацией, советую обратиться к статье нашего Ивана IvS) — при нажатии на экран каждый сенсор получает разную информацию, и на анализе этой информации строятся данные касательно силы нажатия в конкретном участке.
Данная технология может получить большое применение не только в качестве замены стилуса в каких-то творческих задачах, но и в целом в работе системы. Конечно, этот патент, как и все остальные может не взлететь в ближайшие пару лет, но, по крайней мере, он показывает нам в какую сторону смотрит компания и какие перспективы нас ожидают.

